✓ En ligne depuis 2006 – Expérience fiable
✓ Plus de 100 000 produits – Large choix
✓ Expédition rapide – Direct depuis notre entrepôt
✓ Livraison gratuite dès 100 €

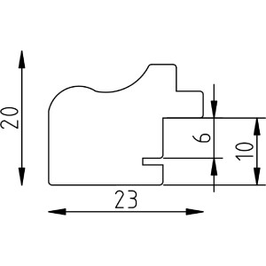
Cadre photo bois rustique 60x90 cm avec verre anti-reflet

Cadre photo en bois rustique brun foncé 60x90 cm, verre anti-reflet, montants 2,3 cm, élégant et protecteur
Couleur 
Type de verre 
Taille 

164,30 €
Incl. 20% T.V.A. , Livraison gratuite